¿La solución para largas distancias?: Ford está desarrollando un extensor de autonomía portátil para sus vehículos eléctricos
Si bien con el impulso hacia la electrificación la tecnología de las baterías evoluciona cada vez más rápidamente, aún se trabaja en sus dos puntos más delicados: su autonomía y la necesidad de contar con una infraestructura para su recarga. Sin embargo, Ford, una de las automotrices que más está apostando por los vehículos eléctricos está desarrollando una interesante solución, un extensor de autonomía portátil.
Imaginemos la siguiente situación: un usuario de un EV quiere hacer un viaje largo de más de 1.000 kilómetros y la ruta por donde debe circular no tiene una red de estaciones de recarga donde pueda parar a reabastecerse. O un entusiasta del off road quiere realizar una travesía pero se encuentra con el obvio problema que a lo largo de su viaje no encontrará un cargador para la batería de su vehículo. La solución, una batería portátil. Sí, como la que utilizamos para los smartphones, pero llevada a la industria automotriz, eso es básicamente lo que plantea la marca del óvalo.
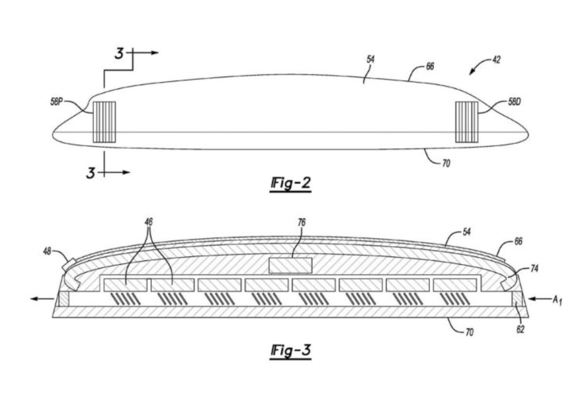
Recientemente, se filtró una serie de imágenes y registro de patentes que revelan cómo sería este concepto. Se trata de una suerte de mochila, con un formato similar al de los baúles portaequipaje que en su interior lleva una batería extra que se conecta al puerto de carga del vehículo. El equipo contará con conductos de aire y rejillas para permitir la ventilación de las celdas de batería e irá montado sobre el techo del auto –o SUV en este caso, ya que las imágenes corresponden a una Bronco. Este sistema podría conectarse de manera automática o de manera manual insertando el cable al puerto de carga.
Al tratarse de un accesorio que podrá ser adquirido en un concesionario luego de la compra del vehículo, deberá ser fácil de instalar y no alterará el diseño del vehículo siendo, tal como señalamos anteriormente, muy similar a los baúles de techo.
Aún en fase de desarrollo, se espera que el equipo sea presentado próximamente por la compañía como novedad extra durante la revelación de alguno de sus próximos SUV’s eléctricos.























que le pongan un panel solar el el techo y un ventilador eólico