Solución ingeniosa: Volvo diseñó un sistema que permite desplazar el volante a la derecha, izquierda o al centro
Uno de los inconvenientes con los que se suelen encontrar los fabricantes a la hora de desarrollar un vehículo es la ubicación del volante: como ya se sabe, hay mercados que lo utilizan a la izquierda y otros a la derecha, por lo que normalmente deben adaptar todo el tablero y por supuesto los componentes mecánicos y estructurales del auto para su instalación. Esto podría cambiar en un futuro no muy lejano, o al menos eso es lo que propone Volvo con un innovador sistema que acaba de diseñar.
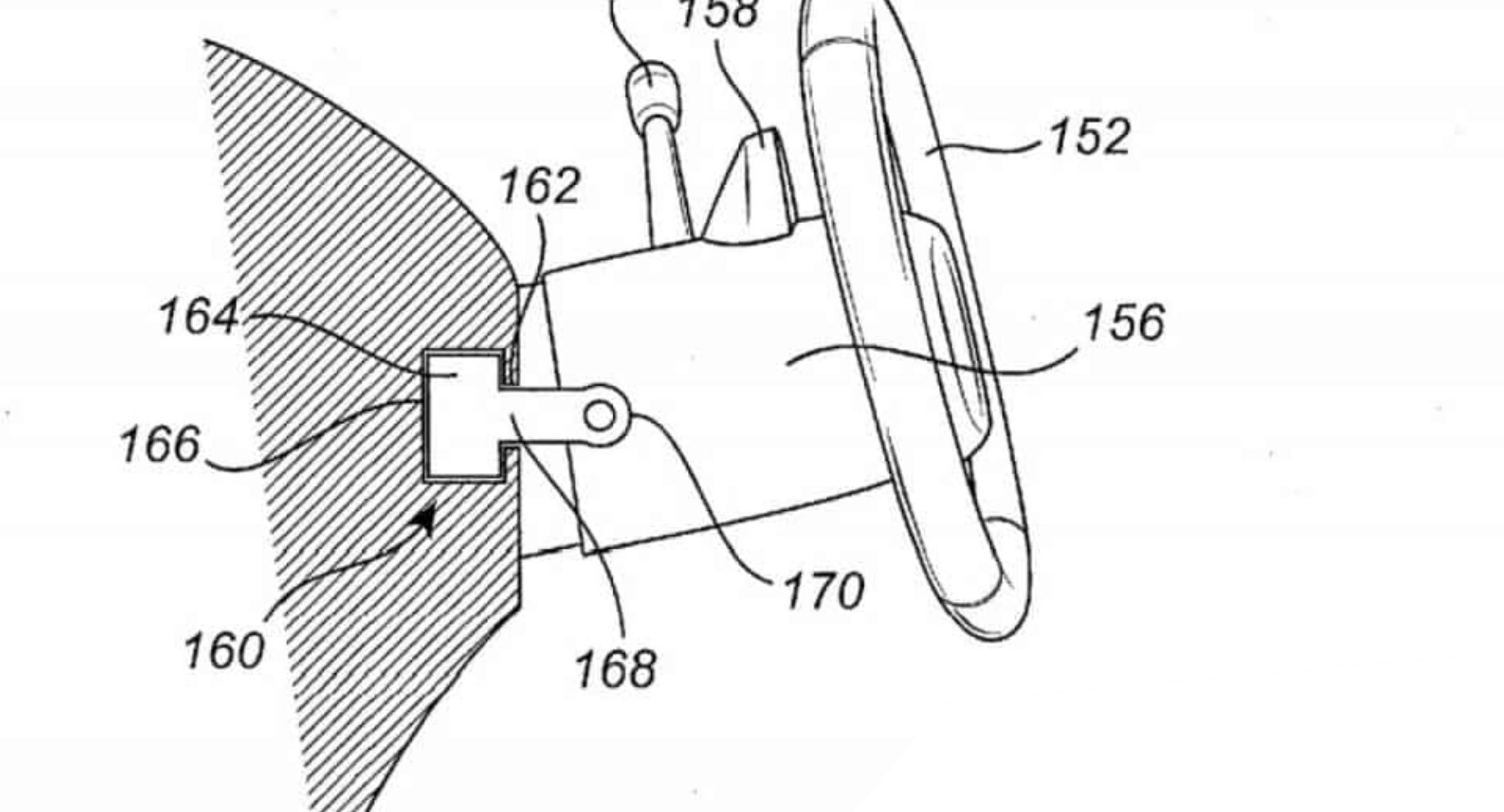
En lugar de una columna de dirección fija, la solución de la marca sueca consiste en un volante móvil que se puede desplazar, mediante un riel, de izquierda a derecha o viceversa y que está acompañado por el instrumental, por lo que no hay que reubicar todos estos elementos en el tablero. Así se podrá elegir cualquier posición de conducción, incluso en el medio como sucede con el mítico McLaren F1. A la vez, además de facilitar su adaptación al fabricante, también mejora la habitabilidad y practicidad del vehículo, ya que al correr el volante, se podrá acceder al habitáculo más fácilmente o ganar algo de espacio. Todo esto parece sencillo, pero… ¿Y los pedales? La firma sueca plantea que pueden ser reemplazados por almohadillas sensibles a la presión o sensores accionados de manera hidráulica, neumática o electrónicamente, que estarían instalados a lo ancho del piso y el sistema detectaría de manera automática la posición del volante para habilitarlos.

La idea de Volvo va un paso más allá y también propone que las butacas puedan desplazarse en múltiples direcciones, lo que convertiría al habitáculo en un espacio completamente modular, incluso superior al que ofrecían los monovolúmenes, pioneros en ofrecer la posibilidad de “armar” o configurar el interior del vehículo de acuerdo a las necesidades de sus usuarios.

La propuesta suena realmente ventajosa, pero ¿Es factible? Para responder a ello, hay que tener en cuenta que está pensada para vehículos con avanzados niveles de autonomía, es decir, aquellos que tendrán un modo en el que podrán prescindir totalmente del conductor, por lo que en esa función, el volante pasaría a un segundo plano. Como muchos se imaginarán, esta tecnología no está disponible a gran escala en este momento sino que se proyecta a mediano o largo plazo. Entonces, ¿Es factible o no? Sí, es una solución muy ingeniosa y que podría implementarse, pero no ahora. Aún hay tecnologías y sistemas que deben desarrollarse –como el que reemplazará a los pedales-, por lo que la marca simplemente lanzó un anticipo y ya registró su idea.























Muy buena Volvo, pero no inventaron nada nuevo… Veo que no conocen el sistema Vario Pilot de Mercedes Benz… que hace mucho existe y lo utilizan en los UNIMOGS.
No es novedad… Entre los años 2002/2003 vi un concept car de Citroën que era crossover o suv, y tenía estec sistema de volante deslizable, además la dirección giraba las 4 ruedas. Volvo no ha mejorado el sistema a pesar de las décadas transcurridas… en mi opinión le falta vuelta de tuerca, la idea de los pedales no convence y podrían sustituirlos con levas al volante para acelerar y frenar…